国产奶嘴价格联盟

方盒造型+可折叠设计,运动相机老大 GoPro 能在无人机市场吃得开吗?

2023-05-10 14:56:27


热爱极限运动或者是玩过运动相机的朋友们肯定听过 GoPro,它作为美国著名的运动相机厂商,推出的 HERO 系列相机一直受到海内外用户的关注,然而随着国产运动相机的兴起,它的市场份额不断萎缩。


早在上一年,GoPro 就被爆陷入亏损黑洞,在第四季度营收仅为 4.4 亿美元,同比下滑高达 31.1%,并录得 3445 万美元的高额亏损。今年随着小蚁 4K 运动相机等竞争产品的公布,GoPro 份额更是被进一步蚕食,录得创纪录的 1.075 亿美元亏损,营收同比下滑近 50%。


为了摆脱这一困境,GoPro 早就暗示要开发无人机来开拓更广阔的市场,然而心有余而力不足,原定上年 12 月公布的 GoPro 无人机,因公司业绩拖累和研发进度缓慢,不得不推到今年年底。

(图片来源于:GoPro)


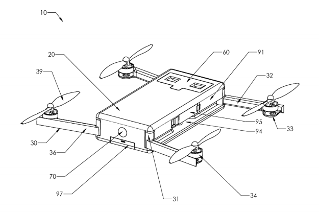
如今这台无人机终于有了新消息,据网上泄露的专利文件显示,GoPro 无人机的主体是方方正正的小盒子,从主体的边角分别伸出四个螺旋桨支架,飞行完之后可以把支架折叠回盒子中,从而进一步缩小整体体积,方便用户携带。


然而有些网友吐槽 GoPro 无人机的外形给人一种刻板呆滞和死气沉沉的感觉,甚至有点像是大街上随处可见的充电宝,而且可折叠设计的无人机工艺难度将会大大增加,一个刚开始研发无人机的公司真的有实力做到吗?


(图片来源于:GoPro)


从另一个角度来考虑,美国无人机市场已经有 3D-Robotics、大疆、亿航等公司的成熟产品,而且大疆在美国无人机市场占有率高达 60% 以上,连美国本土的无人机公司 3DR 都被他迫到要关闭圣迭戈的库房和研发等部门。如今 GoPro 要涉猎这个竞争早已经如此激烈的市场,恐怕很难扭转乾坤。


其实 GoPro 要研发无人机这一想法本意是好的,毕竟运动相机与无人机的关联度的确比较大,但 GoPro 无人机前路必定布满荆棘。如果 GoPro 能挺过去,无疑未来将会一片光明,然而 GoPro 无人机一旦失败,GoPro 可能就会四面楚歌并陷入破产危机。不过从目前 GoPro 的情况来看,后者可能性会大点。



· 大家都在看· 

点击图片查看

VR大实验:磕晕车药能解决VR眩晕问题吗?

在PC是上用Siri很酷?其实MacOS的Siri真的很鸡肋

友情链接

Copyright © 2023 All Rights Reserved 版权所有 国产奶嘴价格联盟